一種拆裝便捷的不銹鋼板旋緊機構
技術領域
本實用新型涵蓋不銹鋼技術領域,更確切地說,它涵蓋一種拆裝便捷的不銹鋼板旋緊機構。
背景技術
不銹鋼又稱特殊處理的有機玻璃。
分行中有眾多不同的理財產品,也對應這些不同的書籍對理財產品進行介紹,方便顧客對理財產品進行更好的認識,很多書籍通常存放在不銹鋼板制成的資料架中,現有的不銹鋼板制成的資料架外部設有間隔分布的托架,托架與資料架是固定連結的,他們不能依據必須對托架的位子進行移動,帶有一定的局限性,現需對這些型不銹鋼板制成的資料架進行改進。
實用新型內容

對于現有技術存在的不足,本實用新型的目的在于提供一種資料架外部托架之間的位子可進行調節的拆裝便于的不銹鋼板旋緊機構。
為謀求上述目的,本實用新型提供了如下技術細則:一種拆裝便于的不銹鋼板旋緊機構,包含窗框,窗框的底部為張口構架,窗框的外部設有托架,且托架順著窗框的基體滑動。
優選地,托架兩側面的頂部均固定安裝有導軌,窗框噴管相對的右側均設立有供導軌踏過的豎直槽,豎直槽沿托架拉面方向設立亞克力板安裝固定,窗框噴管相對內側的頂部設立有水平槽,且水平槽與豎直槽貫通,豎直槽與水平槽的槽向平行分布,導軌順著水平槽滑動,窗框的外部設有對托架進行固定的第一抱閘件。
優選地,第一抱閘件包含第一卡柱,第一卡柱固定安裝在導軌緊靠水平槽的左側,水平槽的槽底設立有間隔分布的供第一卡柱存放的卡槽,水平槽的高度值小于導軌的高度值。
優選地,托架的底部設有連結板,連結板和托架相對側的兩端均設有長條凸出,連結板和托架相對側的長條凸出之間通過鉸鏈活動連結,窗框的外部設有對連結板和托架進行固定的第二抱閘件。

優選地,第二抱閘件包含第二卡柱,托架的長條凸出上設有限位桿,抱閘桿的次數為兩個,兩個抱閘桿之間通過連結塊連結,且連結塊順著抱閘桿滑動,連結塊坐落托架上兩個長條凸出部份之間,第二卡柱固定安裝在連結塊緊靠鉸鏈的右側,鉸鏈緊靠第二卡柱的左側設立有多個正好供第二卡柱放到的卡槽,且多個卡槽呈圓形排列。
優選地,窗框的頂部固定安裝有存放盒,存放盒的右側為張口構架。
通過采取上述技術細則,
1、隔板可順著窗框的基體滑動,那樣他們可按照必須對托架的位子進行調節,托架聯通到任意位子時,均可對托架進行固定,非常方便。
2、通過設置豎直槽,當必須降低新的托架時,將托架從豎直槽處插入窗框中,他們也可依據必須將側板外部多余的托架從豎直槽處抽出,多余的托架可裝入存放盒中,防止托架遺失。

3、通過設置連結板,一些重要的書籍直接存放在兩個擋板之間,不適于他們進行拿取,這時將相鄰兩個連結板均向內擺動呈傾斜狀,當必須對擺動后的連結板進行固定時,只需將第二卡柱插入卡槽中,這么兩個連結板將書籍折斷,以便他們進行拿取。
附圖表明
圖1為本實用新型實行例的示意圖;
圖2為本實用新型實行例的側板構架側面剖視圖;
圖3為本實用新型實行例的托架和連結板連結示意圖;
圖4為本實用新型實行例的圖3中A處放大圖;
圖5為本實用新型實行例的卡槽構架示意圖。
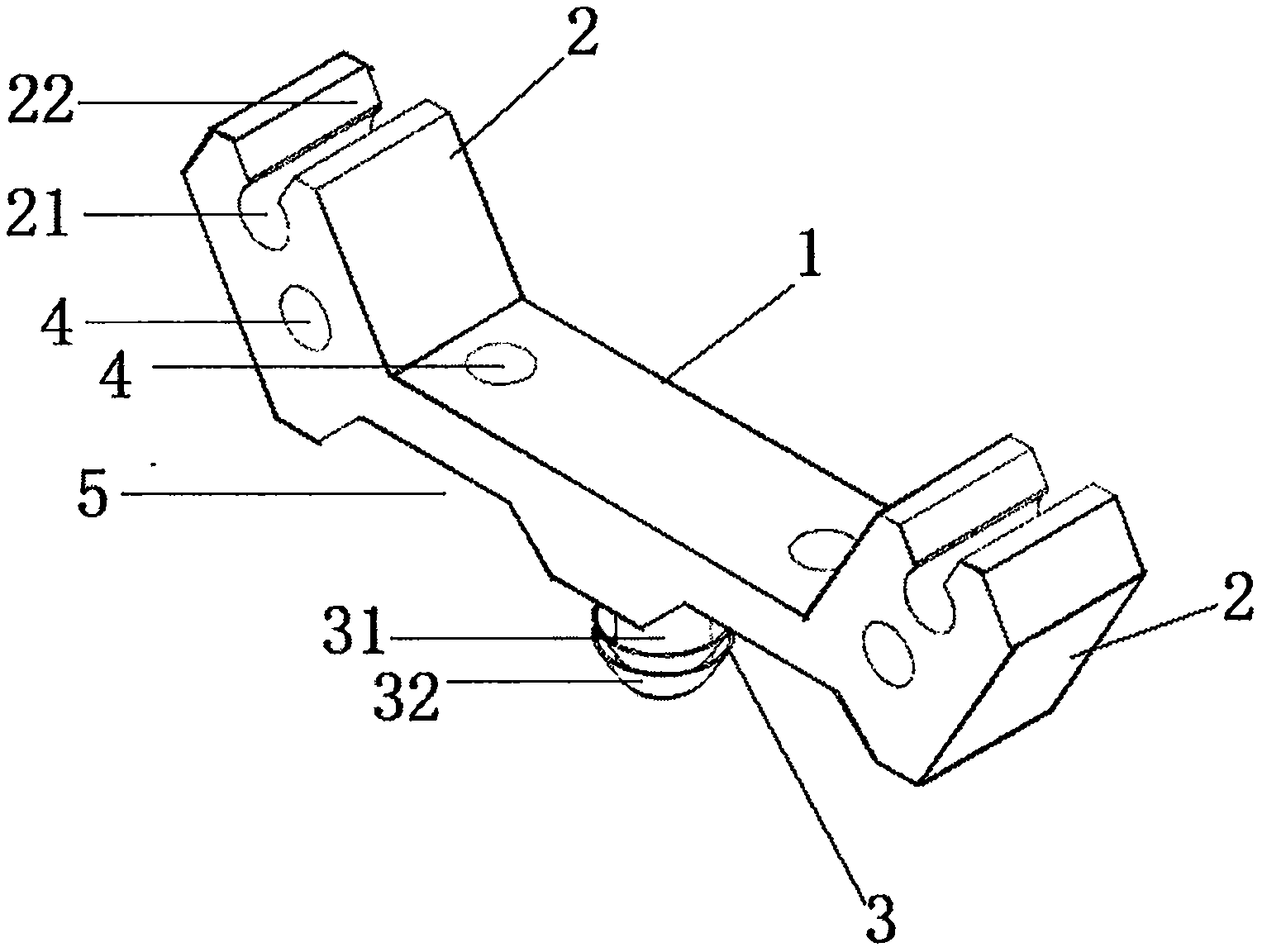
1、外框;2、隔板;3、豎直槽;4、卡槽;5、滑塊;6、放置盒;7、連接板;8、第一卡柱;9、水平槽;10、卡槽;11、限位桿;12、第二卡柱;13、連接塊;14、轉軸;15、條狀凸起。
詳細施行方法
參照圖1至圖5對本實用新型一種拆裝便于的不銹鋼板旋緊機構實行例做逐步表明。

一種拆裝便于的不銹鋼板旋緊機構,見圖2,包含窗框1,窗框1的底部為張口構架,窗框1的外部設有托架2,且托架2順著窗框1的基體滑動。托架2可順著窗框1的基體滑動,則他們可按照必須對托架2的位子聯通。
見圖1和2,托架2兩側面的頂部均固定安裝有導軌5,窗框1噴管相對的右側均設立有供導軌5踏過的豎直槽3,豎直槽3沿托架2拉面方向設立,窗框1噴管相對內側的頂部設立有水平槽9,且水平槽9與豎直槽3貫通,豎直槽3與水平槽9的槽向平行分布,導軌5順著水平槽9滑動,窗框1的外部設有對托架2進行固定的第一抱閘件。當必須對托架2的位子進行聯通時,將托架2順著水平槽9滑動,可運用第一抱閘件對托架2的位子進行固定,當必須提高托架2時,將托架2從豎直槽3處插入窗框1中,那樣托架2被加入窗框1中,當托架2的次數過多時,他們也可將多的托架2從豎直槽3處抽出。
見圖2,第一抱閘件包含第一卡柱8,第一卡柱8固定安裝在導軌5緊靠水平槽9的右側,水平槽9的槽底設立有間隔分布的供第一卡柱8存放的卡槽4,水平槽9的高度值小于導軌5的高度值。當必須對托架2的位子進行聯通時,將托架2輕度向下伸出,這時的第一卡柱8暫離卡槽4,當托架2聯通到適合的位子時,迸發托架2,這時的第一卡柱8放到卡槽4中,則托架2被固定結實。
見圖2和3,托架2的底部設有連結板7,連結板7和托架2相對側的兩端均設有長條凸出15,連結板7和托架2相對側的片狀凸起15之間通過鉸鏈14活動聯接,窗框1的外部設有對連結板7和托架2進行固定的第二抱閘件。有些重要書籍存放在兩個壁柜2之間,不方便他們進行拿取,現對連結板7進行旋轉,則連結板7順著鉸鏈14擺動,當相鄰的連結板7均向內擺動呈傾斜狀時,這時再將書籍存放在兩個層板2之間,就可以將書籍折斷,以便他們進行拿取。
見圖3和4,第二抱閘件包含第二卡柱12,托架2的片狀凸起15上設有限位桿11,抱閘桿11的人數為兩個,兩個抱閘桿11之間通過連結塊13連結,且連結塊13順著抱閘桿11滑動,連結塊13坐落托架2上兩個長條凸出15部份之間,第二卡柱12固定安裝在連結塊13緊靠鉸鏈14的兩側,鉸鏈14靠近第二卡柱12的兩側設立有多個正好供第二卡柱12浸入的卡槽10,且多個卡槽10呈圓形排列。擺動連結板7,當必須對擺動的連結板7進行固定時,將連結塊13向鉸鏈14所在的左側推進,第二卡柱12卡在卡槽10中,這時連結板7固定結實,非常方便。
見圖5,窗框1的頂部固定安裝有存放盒6,存放盒6的左側為張口構架。將側板1多余的托架2從窗框1中抽出后,可將抽出的托架2從存放盒6張口構架的右側放到存放盒6中,防止將托架2弄丟。
工作原理:首先,按照必須對托架2的位子進行調節,將托架2輕度向下伸出,這時的第一卡柱8暫離卡槽4,當托架2聯通到適合的位子時,迸發托架2,這時的第一卡柱8放到卡槽4中,則托架2被固定結實,多必須提高托架2時,將托架2從從豎直槽3處插入窗框1中,當必須將多余的托架2時,將多余的托架2從豎直槽3處掏出,拿起的托架2可置于存放盒6中,有些重要書籍存放在兩個層板2之間,不適于他們進行拿取,對連結板7進行旋轉,則連結板7順著鉸鏈14擺動,當相鄰的連結板7均向內擺動呈傾斜狀時,將連結塊13向鉸鏈14所在的右側推進,第二卡柱12卡在卡槽10中,這時連結板7固定結實,那樣兩個連結板7就可以將書籍折斷,以便他們進行拿取亞克力板安裝固定,即可。
以上所述僅是本實用新型的優選實行方法,本實用新型的保護范圍并除了局限于上述實行例,凡屬于本實用新型思路下的技術細則均屬于本實用新型的保護范圍。必須強調,針對本技術領域的普通技術員工來說,在不脫離本實用新型原理前提下的若干改進和柔化,這種改進和柔化也應視為本實用新型的保護范圍。
掃一掃關注微信